
Холодильник — это одно из наиболее необходимых устройств в современной кухне. Но как же работает этот волшебный прибор? Ответ на этот вопрос кроется в электрической схеме холодильника. Разберемся в устройстве и принципе работы различных холодильников.
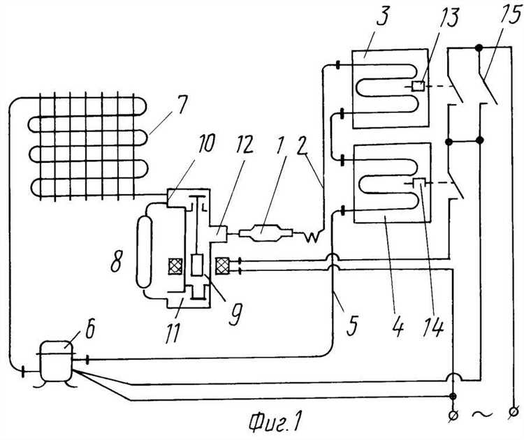
Основной элемент всех холодильников — это компрессор. Он отвечает за компрессию и циркуляцию хладагента в системе. Компрессор является сердцем холодильника, поскольку он создает давление, необходимое для перехода хладагента из газообразного состояния в жидкое.
Далее хладагент проходит через конденсатор, где он охлаждается и конденсируется, то есть переходит в жидкое состояние. Затем жидкий хладагент проходит через расширительный клапан, который контролирует его подачу в испаритель.
В испарителе жидкий хладагент превращается обратно в газ, поглощая при этом тепло изнутри холодильника. Таким образом, газообразный хладагент охлаждает воздух внутри холодильника и поддерживает низкую температуру для хранения продуктов.
Структура схемы холодильника
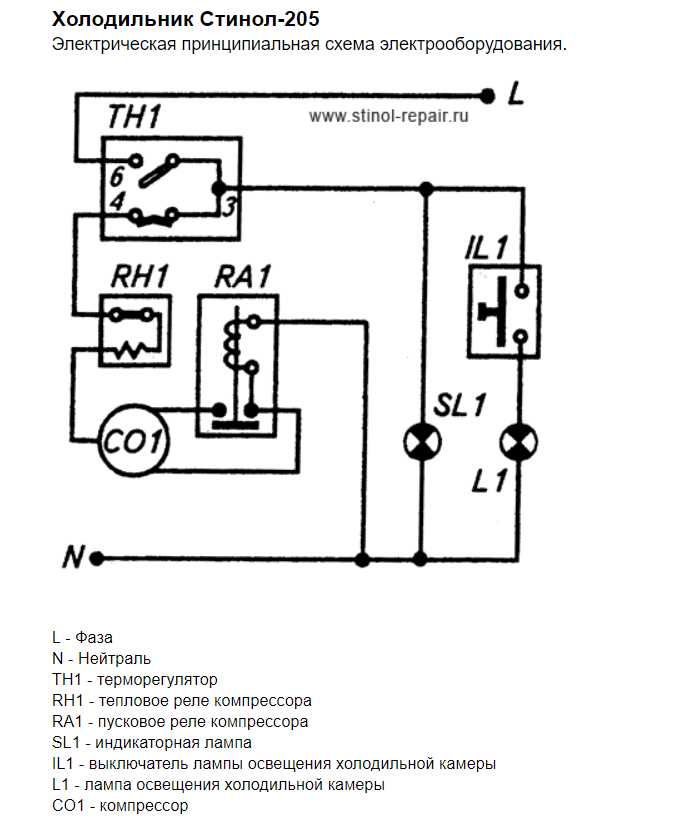
1. Компрессор – является сердцем холодильника и отвечает за циркуляцию рабочего вещества. Компрессор сжимает вещество (как правило, фреон) и поднимает его давление, что приводит к повышению температуры.
2. Конденсатор – это теплообменник, который помогает отводить тепло из компрессора. Конденсатор расположен снаружи холодильника и состоит из спиралей или ребер, через которые проходит газ во время охлаждения.
3. Эвапоратор – теплообменник, расположенный внутри холодильника. Здесь фреон расширяется и испаряется, поглощая тепло из окружающего пространства и охлаждая его.
4. Термостат – регулирует температуру внутри холодильника. Когда достигается заданная температура, термостат отключает компрессор и процесс охлаждения прекращается.
5. Дверца и уплотнитель – предотвращают попадание теплого воздуха внутрь холодильника и помогают сохранять постоянную температуру.
Схема холодильника объединяет все эти элементы и обеспечивает нормальное функционирование устройства. При правильной эксплуатации и обслуживании каждый из этих компонентов обеспечивает эффективное охлаждение и сохранение продуктов.
Устройство и работа холодильника по сжатию

Компрессор

Основная функция компрессора в холодильнике — это сжатие холодильного газа, который циркулирует внутри системы. Компрессор является сердцем холодильника и представляет собой мотор, который создает давление, необходимое для передачи газа в другие части системы.
Конденсатор

После сжатия газ проходит через конденсатор, где он охлаждается и превращается в жидкость. Конденсатор, обычно представляющий собой серпентин из медных трубок, расположен на задней или нижней части холодильника и контактирует с окружающей средой, что помогает отводить тепло.
Очистительный фильтр может быть установлен между компрессором и конденсатором, чтобы улавливать какие-либо загрязнения и отсекать их от системы.
Испаритель
Охлажденная и сжиженная жидкость проходит через испаритель, который находится внутри холодильника. Здесь жидкость превращается обратно в газ, поглощая тепло изнутри холодильника и создавая прохладный эффект. Испаритель может представлять собой систему трубок или спиралей, которые окружены изоляцией, чтобы сохранить произведенный холод.
Внутри холодильной каме
Принцип работы холодильника на поглощении
Холодильники на поглощении основаны на принципе химического поглощения и образуют отдельный класс холодильных устройств. Эти холодильники не используют компрессор для создания охлаждения, вместо этого они используют химический процесс, называемый поглощением.
Основными компонентами холодильника на поглощении являются сорбционный холодильный аппарат, электроподжигатель и испаритель. Сорбционный холодильный аппарат состоит из двух основных элементов: сорбера и испарителя. Сорбер — это аппаратная часть, в котором происходит химическая реакция, поглощающая тепло и пары хладагента. Испаритель выполняет функцию испарения хладагента, который затем охлаждает окружающую среду.
Процесс работы холодильника на поглощении начинается с нагревания раствора аммиака и воды в сорбере при помощи электроподжигателя. В результате нагревания аммиак испаряется и переходит в испаритель, где происходит охлаждение окружающей среды. Охлажденный аммиак затем проходит в сорбер, где реагирует с водой, образуя новый раствор. В этом процессе выделяется тепло, которое уносится в окружающую среду.
Холодильник на поглощении не нуждается в компрессоре, что делает его более молчаливым и надежным. Он также не требует движущихся деталей, что уменьшает вероятность поломок и увеличивает срок службы. Благодаря этому холодильник на поглощении может быть эффективным и долговечным решением для охлаждения.
Видео:
Подключение Реле Холодильника. Электропроводка холодильника. Ремонт холодильников

Я посвятил всю свою жизнь изучению работы холодильников и их ремонту. Моя главная задача — передать накопленные мною знания вам, читателям моего блога. Это — моё наследие, так что отнеситесь к нему с уважением.








